Блоки предохранителей и реле УАЗ Буханка

Уаз буханка фото чёрно-белое
  • Все предохранители, реле и электросхемы автомобилей УАЗ буханка, УАЗ 450, 452, 3741, 3909, 39094, 3962, 3303, 3741, 1965 — 2008 годов выпуска.

Расположение предохранителей в УАЗ

Уаз буханка расположение электроники

  • блок предохранителей;
  • реле поворотов;
  • реле управления лампами АБС;
  • реле дальнего света;
  • реле ближнего света;
  • прерыватель стеклоочистителя;
  • реле заднего противотуманного фонаря;
  • реле стартера.


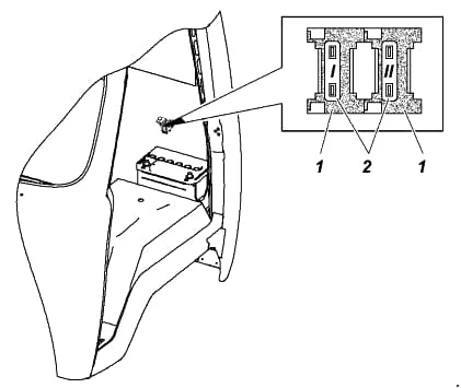
Блок предохранителей установлен слева под панелью приборов и имеет три отдельных крепления-вставки.



Уаз буханка три предохранителя

F1 на 10 ампер, контакт I — Блок контрольных ламп, аварийная сигнализация, спидометр, комбинация приборов, датчики системы АБС, если она установлена на автомобиле.
F1 на 10 ампер, контакт II — Резерв.
F2 на 10 ампер, контакт III — Аварийная сигнализация, звуковой сигнал.
F2 на 10 ампер, контакт IV — Рециркуляционный насос, переключатель отопителя, выключатель света заднего хода.
F3 на 10 ампер, контакт V — система управления двигателем, замок зажигания.
F3 на 10 ампер, контакт VI — Замок зажигания, термобиметаллический предохранитель.



Для машин с двигателем ЗМЗ-40911 Евро-4.

F1 на 10 ампер, контакт I — Блок контрольных ламп, аварийная сигнализация, спидометр, комбинация приборов, датчики системы АБС, если она установлена на автомобиле.
F1 на 10 ампер, контакт II — Резерв.
F2 на 10 ампер, контакт III — Переключатель указателя поворотов, аварийная сигнализация, штепсельная розетка.
F2 на 10 ампер, контакт IV — Рециркуляционный насос, переключатель отопителя, выключатель света заднего хода.
F3 на 10 ампер, контакт V — Комплексная микропроцессорная система управления двигателем, замок зажигания.
F3 на 10 ампер, контакт VI — Замок зажигания, термобиметаллический предохранитель.



Предохранители системы АБС расположены на перегородке за сиденьем водителя на 25А либо 40А.



Уаз буханка два предохранителя абс

Разъём диагностики Уаз Буханка



Уаз разъём диагностики, обд2, где находится