Блоки предохранителей и реле Toyota Camry ACV40
панель для быстрого выбора категории
прикуриватель и розетки
освещение
климат
подогреватели
управление двигателем + бензонасос
центральный замок
подушки безопасности
дворники
сигнал + штатная сигнализация
музыка
стекло
подъёмники
подъёмники
стартер + генератор
быстрый поиск - выберите одну, или несколько категорий и мы выделим всё что относится к этой системе в таблицах ниже

Блоки предохранителейи реле в Камри 2006 - 2011 годов выпуска. Как всегда цветом выделим предохранители замена которых требуется чаще всего, это предохранители прикуривателя, вентилятора печки, обогрева сидений, дворников и т.д. Также в таблице предохранителей есть ссылки на некоторые электросхемы, покажем расположение разъёма диагностики и наиболее вероятное расположение кнопки валет сигнализации. Запасные предохранители - "SPARE".
* также мы знаем где находится блок управления двигателем и АКПП на 2,4 и 3,5 литровых моделях
Расположение предохранителей и реле под капотом Тойота Камри 40

- Блок управления двигателем (2AZ-FE)
- Блок предохранителей
- Блок управления коробкой передач
- Блок управления вентилятором
- Skid Control
- Блок управления двигателем (2GR-FE)
Схема блока предохранителей и реле под капотом Тойота Камри 40

| № | Имя | А | Назначение | |
| 1 | — | — | Не используется | |
| 2 | RR FOG | 10 | Задний противотуманный свет + СХЕМА | |
| 3 | FR DEF | 15 | ||
| 4 | — | — | Не используется | |
| 5 | AM2 | 7.5 | Система запуска (старт стоп) + СХЕМА | |
| 6 | ALT−S | 7.5 | Система зарядки аккумуляторной батареи + СХЕМА | |
| 7 | MAYDAY/TEL | 7.5 | ||
| 8 | — | — | — | |
| 9 | EFI2 | 30 | 2AR-FE (2009-2011): Система впрыска топлива | |
| 10 | E−ACM | 10 | 2GR-FE: — | |
| 11 | ETCS | 10 | Система управления дроссельной заслонкой + СХЕМА | |
| 12 | HAZ | 15 | Указатели поворота, комбинация приборов + СХЕМА | |
| 13 | IG2 | 20 | Система впрыска топлива, система запуска, предохранители: GAUGE NO.2, IGN, INJ | |
| 14 | STR LOCK | 20 | Система блокировки руля | |
| 15 | DOME | 10 | Комбинация приборов, подсветка косметического зеркала, освещение багажного отсека, подсветка замка зажигания, подсветка дверей, освещение салона, часы, лампы для чтения, система бесключевого доступа | |
| 16 | ECU−B NO.1 | 10 | Беспроводная система дистанционного управления, блок управления электрооборудованием кузова, система стабилизации автомобиля, система классификации переднего пассажира | |
| 17 | RADIO NO.1 | 15 | Аудиосистема, навигация | |
| 18 | DOOR NO.1 | 25 | Блок управления электрооборудованием кузова | |
| 19 | — | — | — | |
| 20 | AMP | 25 | Аудиосистема | |
| 21 | EFI MAIN | 30 | Система впрыска топлива, система управления дроссельной заслонкой, блок управления электрооборудованием кузова, предохранители: «EFI NO.2” и «EFI NO.3” + СХЕМА | |
| 22 | — | — | Не используется | |
| 23 | EFI NO.3 | 10 | Система впрыска топлива | |
| 24 | EFI NO.2 | 15 | Система впрыска топлива | |
| 25 | S−HORN | 7.5 | сирена штатной системы охраны | |
| 26 | A/F | 20 | Система впрыска топлива | |
| 27 | MPX−B | 10 | Комбинация приборов | |
| 28 | EFI NO.1 | 10 | Противоугонная система, система бесключевого доступа, система впрыска топлива, система управления дроссельной заслонкой | |
| 29 | HORN | 10 | Звуковой сигнал + СХЕМА | |
| 30 | H−LP (RL) | 15 | Ближний правый свет | |
| 31 | H−LP (LL) | 15 | Ближний левый свет | |
| 32 | H−LP (RH) | 15 | Дальний правый свет | |
| 33 | H−LP (LH) | 15 | Дальний левый свет | |
| 34 | HTR | 50 | Кондиционер | |
| 35 | ABS NO.1 | 50 | ABS, система стабилизации автомобиля, трэкшн контроль, система помощи при торможении | |
| 36 | FAN MAIN | 50 | 2GR-FE: Вентиляторы системы охлаждения двигателя | |
| 37 | ABS NO.2 | 30 | ABS, система стабилизации автомобиля, трэкшн контроль, система помощи при торможении | |
| 38 | RR DEF | 50 | Обогрев заднего стекла, предохранитель: «MIR HTR” | |
| 39 | RR PWR SEAT | 30 | — | |
| 40 | H−LP CLN | 30 | Омыватель фар | |
| 41 | CDS FAN | 40 | 2AR-FE: Вентиляторы системы охлаждения двигателя | |
| 42 | RDI FAN | 40 | 2AR-FE: Вентиляторы системы охлаждения двигателя | |
| 43 | MSB | 30 | — | |
| 44 | ALT | 120 | Предохранители: «RR FOG”, «FR DEF”, «AM2”, «ALT−S”, «MAYDAY/TEL”, «E−ACM”, «ETCS”, «HAZ”, «IG2”, «STR LOCK”, «DOME”, «ECU−B NO.1”, «RADIO NO.1”, «EFI MAIN”, «AMP”, «DOOR NO.1”, «EFI NO.3”, «EFI NO.2”, «S−HORN”, «A/F”, «MPX−B”, «EFI NO.1”, «HORN”, «H−LP(RL)”, «H−LP(LL)”, «H−LP(RH)”, «H−LP(LH)”, «HTR”, «ABS NO.1”, «FAN MAIN”, «ABS NO.2”, «RR DEF”, «RR PWR SEAT”, «H−LP CLN”, «CDS FAN”, «RDI FAN”, «MSB”, «ALT” и «ST/AM2” | |
| 45 | — | — | — | |
| 46 | — | — | — | |
| 47 | — | — | — | |
| 48 | ST/AM2 | 30 | Стартер, предохранители: GAUGE NO.2, IGN, INJ + СХЕМА | |
| Реле | ||||
| R1 | Система стабилизации автомобиля (VSC No.2) | |||
| R2 | Система стабилизации автомобиля (VSC No.1) | |||
| R3 | 2AZ-FE: Вентилятор системы охлаждения (No.1) | |||
| R4 | 2AZ-FE: Вентилятор системы охлаждения (No.3) | |||
| R5 | 2AZ-FE: Вентилятор системы охлаждения (No.2) 2GR-FE: Вентилятор системы охлаждения | |||
| R6 | Стартер | |||
| R7 | Зажигание | |||
| R8 | Муфта компрессора кондиционера (MGC) | |||
| R9 | Реле блокировки стартера (когда не в парковке) | |||
| R10 | Обогрев заднего стекла | |||
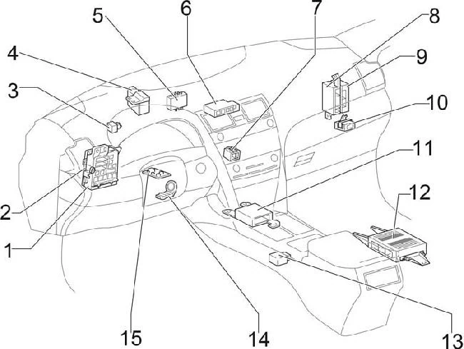
Расположение электронных блоков в салоне Камри 40

- Блок предохранителей
- Блок управления электрооборудованием кузова BCM
- Реле поворотов и аварийки
- Распределительный блок №3
- Блок ID (автомобили с системой Smart System)
Транспондер ключа (автомобили без системы Smart System) - Распределительный блок (CAN)
- Распределительный блок №4
- Усилитель кондиционера
- Блок сертификации
- Блок контроля давления в шинах TMPS
- Центральный блок подушек безопасности SRS
- Аудио усилитель
- Блок блокировки селектора коробки передач Shift-lock
- Усилитель сигнала ключа
- Блок блокировки руля
Расположение предохранителей в салоне Камри 40


| № | Имя | А | Назначение |
| 1 | RR DOOR RH | 25 | Задний правый стеклоподъемник |
| 2 | RR DOOR LH | 25 | Задний левый стеклоподъемник |
| 3 | FUEL OPN | 7.5 | Лючок бензобака |
| 4 | FR FOG | 15 | Передний противотуманный свет |
| 5 | OBD | 7.5 | Диагностический разъем |
| 6 | ECU−B NO.2 | 7.5 | Стеклоподъемники |
| 7 | STOP | 10 | Лампы стоп-сигнала, дополнительный стоп-сигнал, блокировка селектора коробки передач, система впрыска топлива, блок управления электрооборудованием кузова, ABS, система стабилизации автомобиля, трэкшн контроль, система помощи при торможении, система управления дроссельной заслонкой |
| 8 | TI&TE | 30 | — |
| 9 | — | — | Не используется |
| 10 | AM1 | 7.5 | Система впрыска топлива |
| 11 | A/C | 7.5 | Кондиционер |
| 12 | PWR | 25 | Стеклоподъемники |
| 13 | DOOR NO.2 | 25 | Блок управления электрооборудованием кузова |
| 14 | S/ROOF | 30 | Люк |
| 15 | TAIL | 15 | Габаритный свет, освещение номерного знака, лампы заднего хода, передние указатели поворота, блок управления электрооборудованием кузова |
| 16 | PANEL | 7.5 | Навигация, подогрев сидений, аварийная сигнализация, кондиционер, аудиосистема, часы, освещение перчаточного ящика, система стабилизации автомобиля, трэкшн контроль, подсветка панели приборов, переключатели на руле |
| 17 | ECU IG NO.1 | 10 | Блок управления электрооборудованием кузова, стеклоочиститель и омыватель, люк, система контроля давления в шинах, вентилятор системы охлаждения, навигация, внутреннее зеркало с автоматическим затемнением |
| 18 | ECU IG NO.2 | 7.5 | ABS, система стабилизации автомобиля, трэкшн контроль, система помощи при торможении, блокировка селектора коробки передач, автоматическая коробка передач, круиз-контроль |
| 19 | A/C NO.2 | 10 | Кондиционер, обогрев заднего стекла |
| 20 | WASH | 10 | Стеклоочиститель и омыватель |
| 21 | S-HTR | 20 | Подогрев сидений + СХЕМА |
| 22 | GAUGE NO.1 | 10 | Аварийная сигнализация, лампы заднего хода, система впрыска топлива, система зарядки аккумуляторной батареи |
| 23 | WIP | 25 | Стеклоочиститель и омыватель |
| 24 | H−LP LVL | 7.5 | Электрокорректор фар |
| 25 | INJ | 15 | Система впрыска топлива, система запуска |
| 26 | IGN | 10 | Система впрыска топлива, противоугонная система, подушки безопасности, система блокировки руля, система классификации переднего пассажира, система управления дроссельной заслонкой, система бесключевого доступа |
| 27 | GAUGE NO.2 | 7.5 | Комбинация приборов, часы, мульти-информационный дисплей |
| 28 | ECU−ACC | 7.5 | Часы, блокировка селектора коробки передач, блок управления электрооборудованием кузова, зеркала с электроприводом, система бесключевого доступа |
| 29 | CIG | 20 | Прикуриватель |
| 30 | PWR OUTLET | 20 | Розетка |
| 31 | RADIO NO.2 | 7.5 | Аудиосистема, навигация |
| 32 | MIR HTR | 10 | Обогрев зеркал |
реле в салоне камри 40

| № | Имя | А | Назначение |
| 1 | P/SEAT | 30 | Сиденья с электроприводом + СХЕМА |
| 2 | POWER | 30 | Стеклоподъемники |
| Реле | |||
| R1 | Противотуманный свет | ||
| R2 | Габаритный свет | ||
| R3 | Вспомогательное реле | ||
| R4 | Стеклоподъемники | ||
| R5 | Зажигание (IG1) | ||
ошибка P0420 Toyota Camry ACV40
Расположение разъёма диагностики в Камри 40

* кнопка валет сигнализации чаще всего расположена в салонном блоке предохранителей
* все лампы применяемые в Камри 40